- Главная
- Инженерные системы
- Сантехника
- Мойки
- EWIGSTEIN Мойка GERD 45F 1-чаша+крыло 650*500мм черный арт.EW-
EWIGSTEIN Мойка GERD 45F 1-чаша+крыло 650*500мм черный арт.EW-
- Характеристики
- Отзывы0
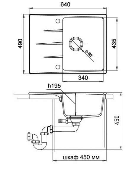
| Технические характеристики | |
| Бренд | EWIGSTEIN |
| Тип | мойка |
| Цвет | Черный |
| Установочный шкаф, мм | 450 |
| Наличие крыла | Да |
| Слив-перелив | есть |
| Модель | GERD 45F |
| Стиль | хайтэк |
| Материал | кварц |
| Форма | прямаугольник |
| Размер чаши, мм | 340х435 |
| Количество чаш | 1 |
| Клапан-автомат | Нет |
| Диаметр слива, см | 8,89 |
| Комплектация | мойка 1 шт.,сифон 1 шт., гарантийный талон 1шт., крепеж 4 шт. |
| Габариты | |
| Длина (мм) | 640 мм |
| Ширина (мм) | 490 мм |
| Измельчитель отходов | Да |
| Гарантия, лет | 5 |
| Область применения | Кухня |
| Способ монтажа | врезная |





